它是一种基于云计算的会计服务模式,允许企业通过互联网访问会计数据和应用程序,实现会计信息的收集、处理和报告。与传统会计相比,云会计具有以下显著优势:
1、自动化数据处理:云会计系统自动完成大量数据录入工作,节约会计处理时间。
比如,用友好会计软件支持从税务数字账户取票等多种取票路径,自动生成凭证

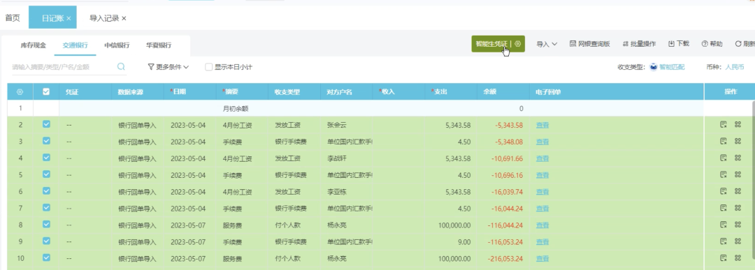
可以采集导入银行数据(银企直连、导入Excel等方式均支持)生成日记账,再由日记账智能生成凭证。

2、管理决策支持:云会计系统提供精确的会计数据支撑,数据指标分析,帮助企业高层做出更明智的业务预测和管理决策。
用友好会计软件各类数据指标分析展示如下:

3、长期规划与效率提升:云会计系统为企业提供长期规划方案,提高会计处理效率。
用友好会计软件客户端实时更新,随时根据最新的税收政策等信息更新相关数表,帮助企业做出正确的财税处理!同时,通过各种税表检查,进销稽核,为企业防范税务风险!

4、随时随地的数据访问:决策者可以深入了解企业的财务状况,不受时间和地点的限制。
用友好会计支持云端访问,支持任何时间、地点查看数据!